
Switch 2 is agonisingly close to release at the Nintendo Direct event which will be held on April 2, 2025, at 9 AM Eastern and 6 AM Pacific. The company teased the highly anticipated handheld console in January, and many speculations have ignited the upcoming release since then. At that time Mario Kart 9 was shown off being played using revamped Joy-Cons. The accessory was also used as a mouse, sliding on a flat surface, which is interesting.
The upcoming event that’ll now officially reveal more technical details of the home console cum hybrid handheld that’s bigger than the predecessor. We eagerly await the sequel for a clearer picture of the ‘C Button’ functionality, USB-C ports, and the Joy-Con being used as a mouse input. It is also expected that the price and availability of the Steam Deck killer will be announced at the upcoming event. While a deleted Reddit account had a post revealing the launch date for Nintendo Switch 2 to be May 22, we’ll look at what’s just ahead of us.
Designer: Nintendo


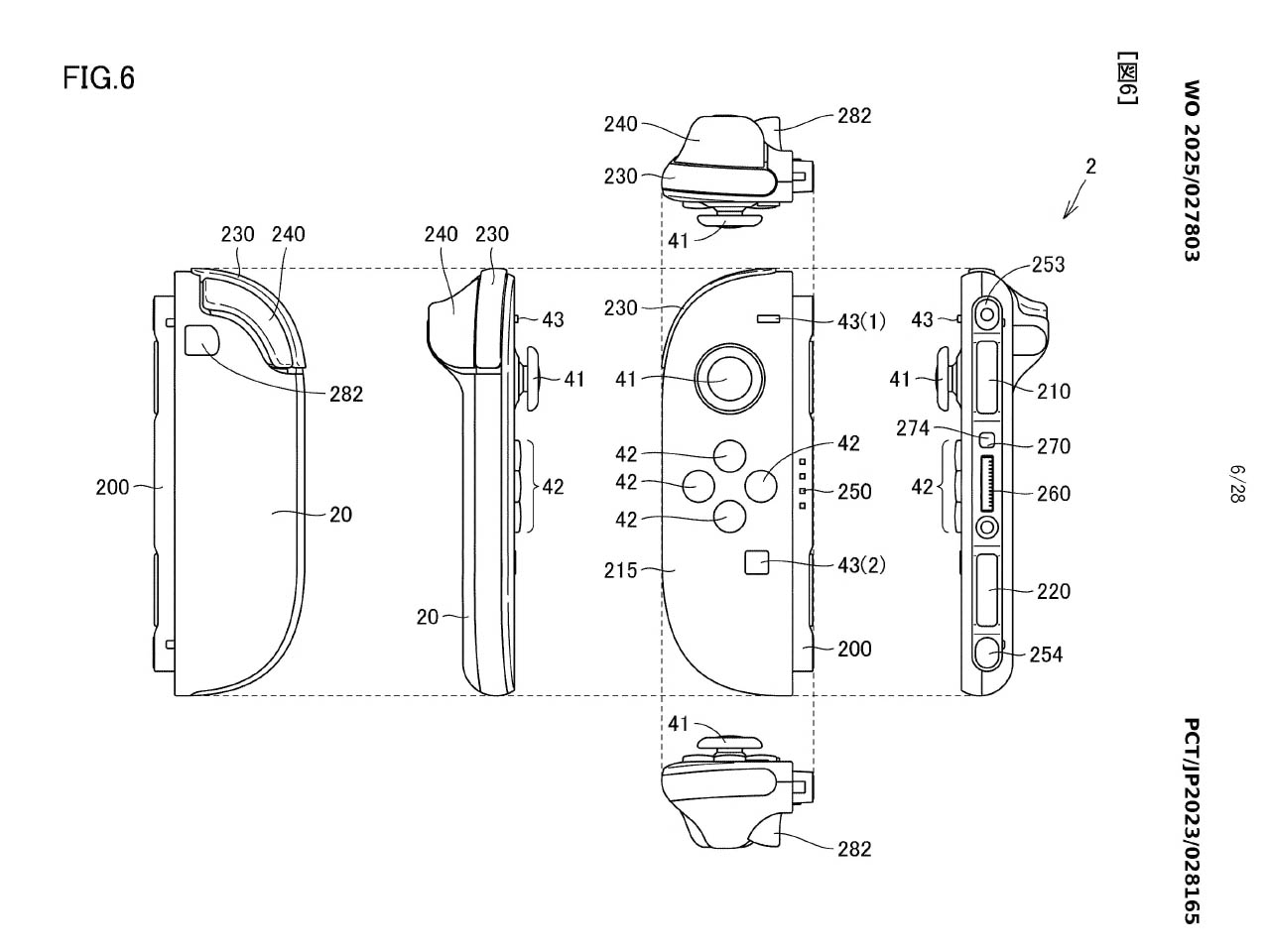
Keeping our focus on the Joy-Cons that were briefly shown to have a mouse-like input, there’s more on this development. A patent filed in August 2023 by Nintendo was published yesterday, giving more details about what the controller can do. There are multiple use case scenarios for this input device, one of them being the mouse functionality along with the associated control schemes. We have to keep in mind though, there’s no mention of Switch 2 anywhere in the patent description, and the assumption is purely based on the factual probabilities.


The renders of this patent clearly show a Joy-Con-like device being used as a mouse. The gadget has a front surface, a first slide surface, directional inputs, an upper surface button, and a sensor for mouse operation. In one of the rendered diagrams, the controller is held horizontally with the thumb of the player on the control stick and the SR and SL buttons facing downwards. By reasonable logic, this means the optical sensor will be downwards, so that the device input can be registered in a mouse-like orientation. It looks like the right side of the controller can be placed on a flat surface for mouse-like functionality. In this orientation, the controller can be docked and charged by the look of things.


This mystery device will have a wrist strap attachment slot with a mention of the “magnet” word 355 times indicating the attachment mechanism to be a more convenient magnetically attaching mechanism. We can also not rule out the possibility of Joy-Cons attaching to the Switch 2 magnetically too. Given the rumors that have surrounded the Switch 2 and the Joy-Cons lately, these seem like the missing pieces in the puzzle of what mouse-like controller we have in hiding when the console is finally in our possession.

