The Future is Clear: Samsung’s Smart Glasses Patent Leaps Ahead with AI and Audio Tech

The recently published patent application US 2025/0060618 A1, filed by Samsung Electronics under the names of LEE et al., provides a detailed look at the company’s approach to smart glasses. Released on February 20, 2025, the filing focuses on audio technology and how it integrates with wearable displays, positioning Samsung to compete in this expanding market.

Designer: Samsung

Advanced Audio Technology

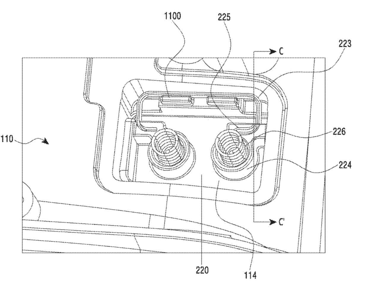
Samsung’s documentation outlines a specialized speaker system designed to reduce electromagnetic interference, a common issue that affects sound quality in wearable audio devices. Engineers have developed a noise-reducing speaker design that maintains clear audio without increasing power consumption, an essential factor for extending battery life in a compact form.

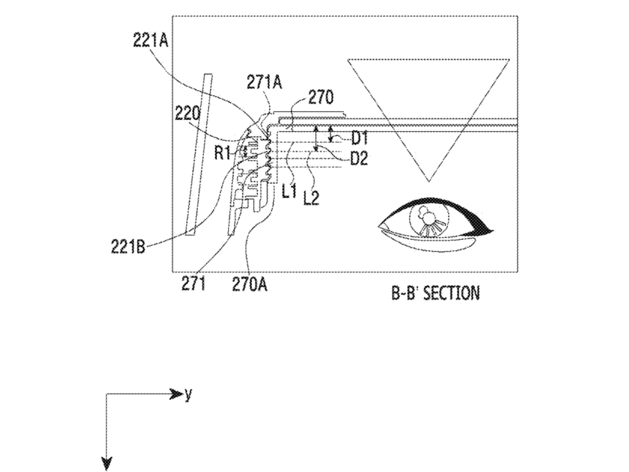
The filing describes bone conduction as a key method for delivering audio, transmitting sound vibrations through the bones of the skull to the inner ear. This approach allows users to hear their surroundings while listening to audio, improving situational awareness and reducing sound leakage. By bypassing the eardrum, this method also enhances audio clarity, particularly in noisy environments.

AI Integration and User Interaction

Beyond audio, the application suggests AI-based processing for both sound and visual data, which may enable applications like real-time translation and voice control. The design appears optimized for on-device computation, reducing reliance on cloud-based processing and improving response times.

Interaction methods are a key focus, with descriptions of controls responding to voice, gestures, and possibly eye tracking. Integrated sensors and cameras could detect specific gestures to execute commands, while eye-tracking technology might allow users to select and interact with virtual elements simply by looking at them. This multi-modal interface would make the glasses intuitive in both professional and everyday settings.

Design and Wearability

Balancing functionality with aesthetics, Samsung’s patent emphasizes a sleek and lightweight design that allows the smart glasses to be worn comfortably throughout the day. The frame is structured to house various electronic components, including processors, sensors, microphones, and power sources while maintaining a streamlined profile. Samsung’s approach suggests that these components will be distributed in a way that preserves the natural balance of the glasses, preventing unnecessary weight distribution that could cause discomfort during extended wear.

The filing proposes using lightweight metals and reinforced polymers to maintain durability without adding bulk. These materials are selected not only for their strength but also for their ability to integrate seamlessly with internal circuitry and wireless connectivity components. The documentation suggests a modular frame structure where certain internal elements could be housed within replaceable or removable sections, allowing for potential future upgrades or easier maintenance.

Samsung also considers fit adjustability in the frame’s structure, which could enhance usability for different wearers. The patent references flexible hinges or temples that adapt to varying head shapes while securing the glasses in place. This could be particularly useful for users engaging in physical activities, where stability is a key concern.

Thermal regulation is another crucial aspect of the design. The placement of electronic components within the frame necessitates passive heat management to ensure comfort. The patent outlines the use of heat-dissipating materials to channel excess heat away from sensitive areas, while specific sections of the glasses—such as the temples or bridge—may incorporate micro-ventilation channels that improve airflow. Rather than relying on active cooling methods that could drain battery life, these passive design choices aim to regulate temperature efficiently.

The document also explores ways to minimize external bulk, ensuring the glasses retain a low-profile aesthetic. Unlike early smart glasses concepts that featured protruding camera modules or visible processing units, Samsung’s design approach seeks to embed technology within the structure, making the device visually indistinguishable from traditional eyewear.

To enhance user comfort, the patent describes coatings and surface treatments that could improve durability while maintaining a premium feel. Anti-reflective and anti-smudge coatings on the lenses help maintain visibility, while skin-friendly materials on contact points, such as nose pads and temples, reduce irritation during prolonged wear.

By addressing weight distribution, material selection, passive heat dissipation, and ergonomic considerations, Samsung aims to design smart glasses that balance technological sophistication with everyday usability.

Market Positioning

This patent aligns with industry speculation about Samsung’s interest in the XR and smart glasses market. With Apple’s Vision Pro and Meta’s smart glasses gaining traction, a focus on audio quality and AI integration could serve as a key differentiator in this competitive space.

The company’s expertise in display technology, semiconductors, and AI development positions it well for wearables. By addressing the limitations of previous attempts in this category, Samsung is developing a product that could appeal to users looking for a device that enhances everyday interactions.

Technical Considerations

The filing highlights several engineering challenges and the solutions being developed to address them:

  • Power Efficiency: The noise-reducing speaker system operates with minimal power, preserving battery life for extended use.
  • Component Integration: Internal electronics are embedded in a way that preserves comfort while maintaining functionality.
  • Heat Management: Structural design choices facilitate passive cooling, preventing overheating without relying on power-draining cooling mechanisms.
  • Durability: The choice of reinforced materials ensures longevity while maintaining a lightweight and ergonomic structure.

A Step Toward Smart Glasses Adoption

While this application provides insight into Samsung’s direction, it is part of a larger effort to refine smart glasses technology into a practical consumer product. The transition from concept to production will involve adjustments based on technical feasibility, market demand, and competition.

Samsung’s investment in this space suggests a strong focus on wearable displays that integrate AI and audio in a way that enhances usability. The company’s approach addresses challenges that have limited smart glasses adoption, prioritizing clear audio, efficient power use, and an intuitive interface.

With the industry moving toward more immersive digital experiences, Samsung’s work in smart glasses could be an early step toward making wearable displays a part of everyday life.

311 Shares