Talking of smartphone designs – Samsung, Motorola, and now LG have all been bold enough to take a detour from the contemporary. The Galaxy Z Fold 2 that has matured elegantly from its predecessor and the compact Motorola Razr are very good examples of smartphone design evolution over the past few years. The never before seen swivel form factor of the LG Wing is also a bold move in the competitive market, and LG is also working on a foldable phone that looks to outsmart Samsung and Motorola in the near future. So, the question arises, when will Apple be showing us its next big leap in terms of design? Well, they have filed a patent for a folding display that suggests, the idea of a folding iPhone is coming to life, and now it’s only time before we’ll have our wishes granted.
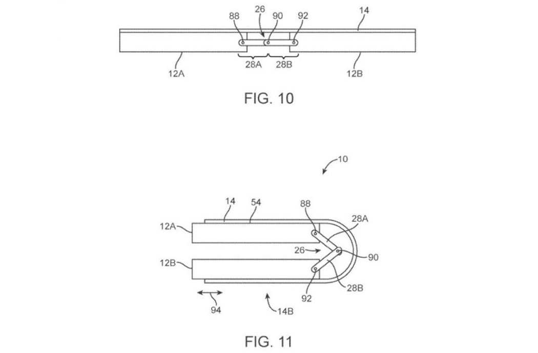
Traditionally iPhones have always been very compact and designed with one-handed use in mind. To that end, Samsung and LG have not constricted themselves and brought big-screen phones to the market that are tailored for multimedia consumption. That competitive push has forced Apple to increase the screen size gradually, as this year’s iPhone 12 Pro Max has a big 6.7-inch display. The Apple version of a folding phone could take design cues from the Galaxy Z Fold 2 if they decide to make it an all-out flagship-grade version, or go for a subtle Razr-like form factor if they desire to cater to a niche set of buyers. If we go by the patent filed by Apple, the display will have a crease-less foldable panel (like Galaxy Z Fold 2) and a folding mechanism similar to Motorola Razr – folding like a handy mirror. The early renders of the iPhone 13 are not exactly promising (for either of the versions) but we can count on Apple’s tendency to be thorough in its design testing and the result will be ready to shock and awe. Personally, I find the Moto Razr inspired fold a more unique design with the folded screen seemingly a throwback to the iPod Nano that was a part of their game-changing arsenal.
Any way they choose to proceed, a folding iPhone is inevitable and who knows it could be the iPhone 13 Fold or a new model that is positioned separately from the conventional iPhone series. Apple is going to bide their time before releasing such a revolutionary design (Steve Jobs would have dared) as they now go for a very measured approach. Will it be able to lure the early adopters who are all in for future-forward designs? Sure they can if the design is ergonomic, the user-interface is seamless and the overall experience improves productivity beyond comprehension.
Designer: iOS Beta News

















